“다초점 렌즈 성능 자동 평가”…여의도성모, 미국 특허 확보로 임상 새변화
다초점 렌즈 성능을 자동으로 평가하는 국내 기술이 미국 특허를 따내며 백내장 수술의 임상 판도가 달라지고 있다. 여의도성모병원 황호식 교수팀이 개발한 ‘다초점 인공수정체 평가 장치’는 인공수정체의 광학 성능을 빠르고 객관적으로 측정할 수 있도록 고안됐다. 업계는 이번 특허 등록을 계기로 백내장 인공수정체 선택 기준이 과학화되는 분기점으로 주목하고 있다.
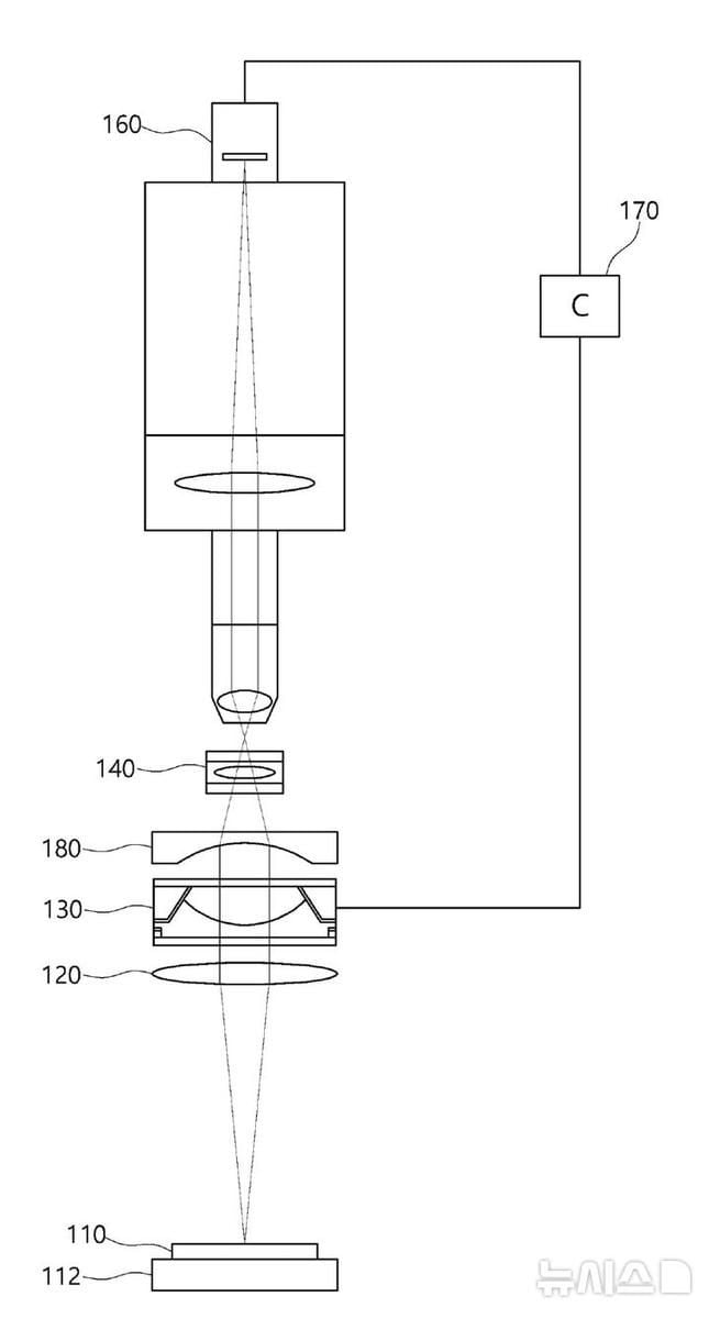
다초점 인공수정체(multifocal IOL)는 백내장 수술 시 혼탁한 수정체를 제거한 뒤, 근거리와 원거리 모두 교정 가능한 렌즈로 시력을 개선한다. 기존 성능 평가는 환자별 시력검사, 만족도 조사 등 임상 데이터에 의존해 왔으나, 결과의 주관성과 검증 반복성 부족이 한계로 꼽혀 왔다.

이번 특허 기술은 광학 성능 평가를 위한 옵티컬 벤치(Optical bench) 수조에 인공수정체를 넣어, 전기적 제어가 가능한 액체렌즈로 다양한 거리 초점을 ‘탈초점’ 방식으로 시뮬레이션한다. 시력 표본 이미지를 촬영 후 데이터 자동 분석까지 전 과정을 자동화함으로써, 동일 인공수정체의 성능을 반복적이고 재현성 있게 비교할 수 있도록 설계된 점이 핵심이다. 기존 수작업 대비 평가 속도와 데이터 표준화가 비약적으로 개선됐다.
이 장치는 임상 현장에서 백내장 환자 맞춤 렌즈를 객관적으로 선택하는데 적합하다. 수술 전 다양한 브랜드의 다초점 렌즈 성능과 특성을 표준화된 데이터베이스로 제공, 환자와 의사의 선택 폭을 넓히는 것은 물론, 비용과 시간 부담도 낮출 수 있다.
특히 글로벌 시장에서도 다초점 인공수정체 성능 평가 자동화 기술 경쟁이 활발하다. 미국, 유럽 등은 다양한 표준화 방식을 도입하고 있지만, 이번 여의도성모의 특허는 평가 자동화와 전기적 탈초점 시뮬레이션 결합에서 기술적 차별점이 뚜렷하다.
현행 국내외 의료기기 규제는 인공수정체 성능평가의 객관적 데이터 확보를 요구하고 있다. 이번 특허기술은 미국 특허청에 등록을 마치면서 글로벌 인증 및 상용화 진입 장벽을 일부 해소했다는 평가를 받고 있다.
황호식 교수는 “전기적으로 탈초점을 구현하는 자동화 장치로 객관적 성능 비교가 가능해졌고, 이를 표준화된 데이터베이스화 해 환자 및 의사가 손쉽게 정보를 확인할 수 있을 것”이라고 밝혔다.
산업계는 해당 기술이 국내외 다초점 렌즈 시장에 표준화 흐름을 가져올지 주목하고 있다. 궁극적으로는 임상 정확도와 환자 맞춤 치료 기반이 확대되는 계기가 될 것으로 보인다.